Tesla verkar ha satt in en teknikoffensiv. Bara för ett par veckor sedan rapporterade vi om Teslas patent på en ny typ av vindrutetorkare. Och nu är det dags för nästa patentansökan. Denna gång handlar det om en ny, effektivare styrservokonstruktion, skriver electrec.
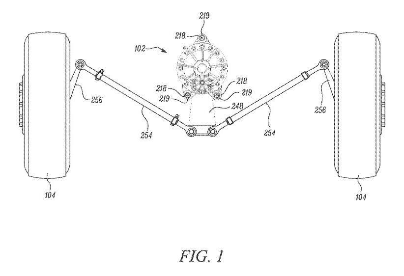
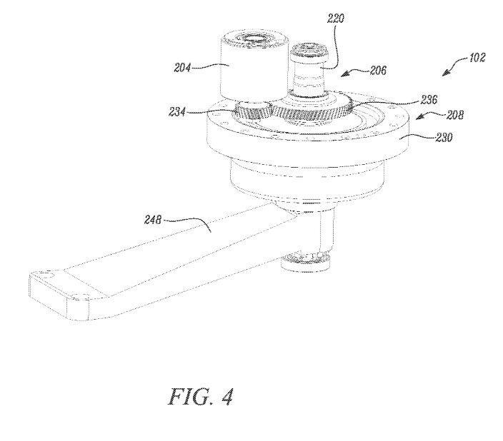
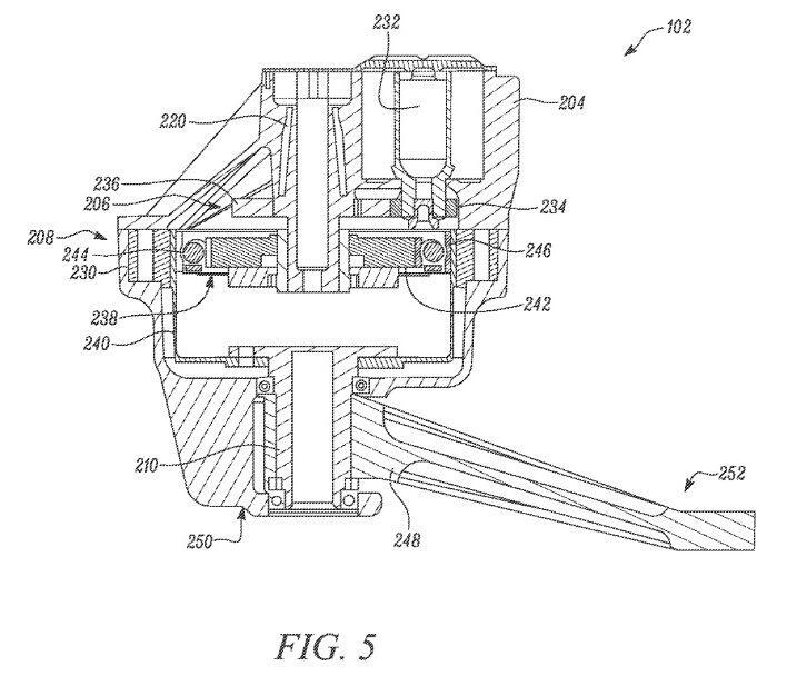
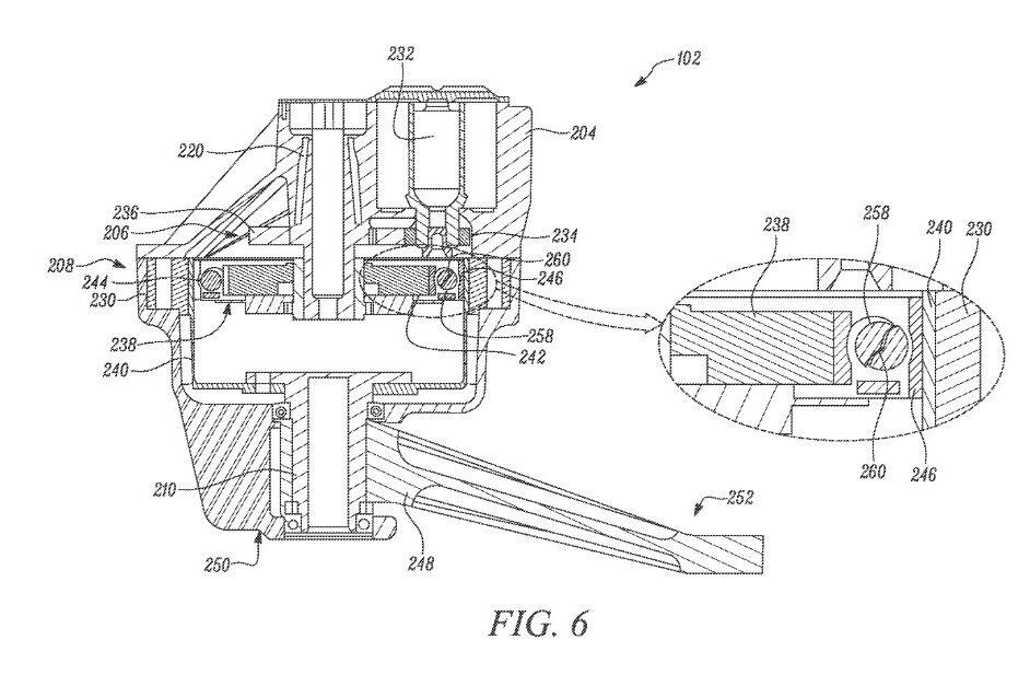
Enligt patentansökan ska denna konstruktion vara både mindre och lättare än liknande system som redan finns på marknaden.
”Styrsystemet är en kompakt enhet som upptar mindre utrymme jämfört med andra system på marknaden. Dessutom behöver systemet ingen större mängd extra elektricitet för att fungera”, skriver Tesla i ansökan.
Ingenjören bakom konstruktionen ska vara Mark Kaufman, som också ligger bakom en del av mekaniken i ”måsvinge”-dörrarna i Tesla Model X.
Här är bilderna på Teslas styrservopatent.





